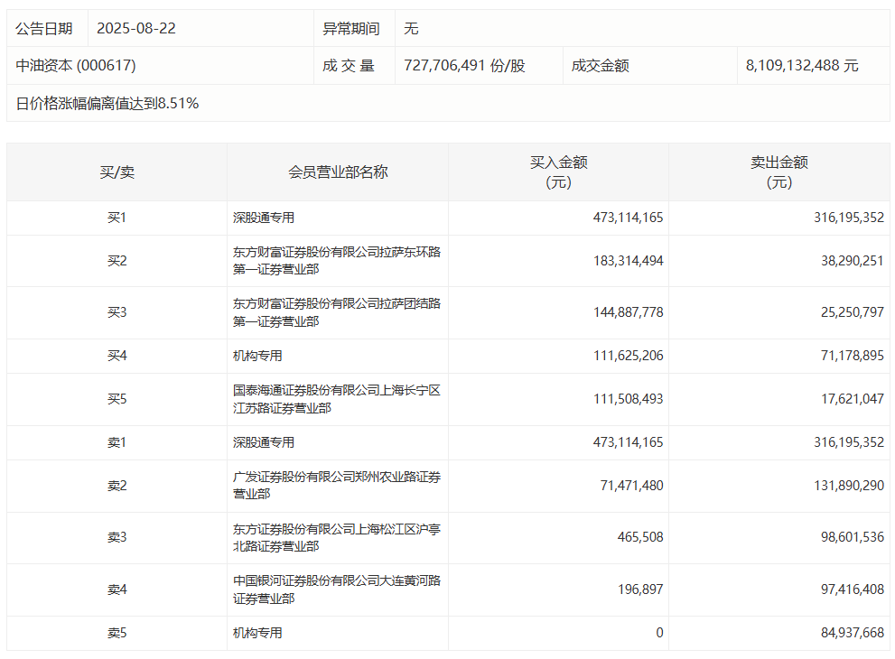
中油资本今日涨停仁信,成交额81.09亿元,换手率5.76%。盘后龙虎榜数据显示,深股通专用席位买入4.73亿元并卖出3.16亿元,1家机构专用席位净买入4044.63万元,有1家机构专用席位净卖出8493.77万元,中国银河大连黄河路席位净卖出9721.95万元。

寒武纪今日涨停仁信,沪股通买入11.48亿元并卖出12.86亿元寒武纪今日涨停,沪股通买入11.48亿元并卖出12.86亿元
0 1小时前
推理算力毛利率转正,可灵AI2025年收入将较年初目标翻倍AI整体投入对快手2025全年利润率的影响在1%-2%左右。
104 昨天 20:47
寒武纪今日涨停 涪陵广场路席位净买入10.86亿元寒武纪今日涨停 涪陵广场路席位净买入10.86亿元
0 08-12 17:29
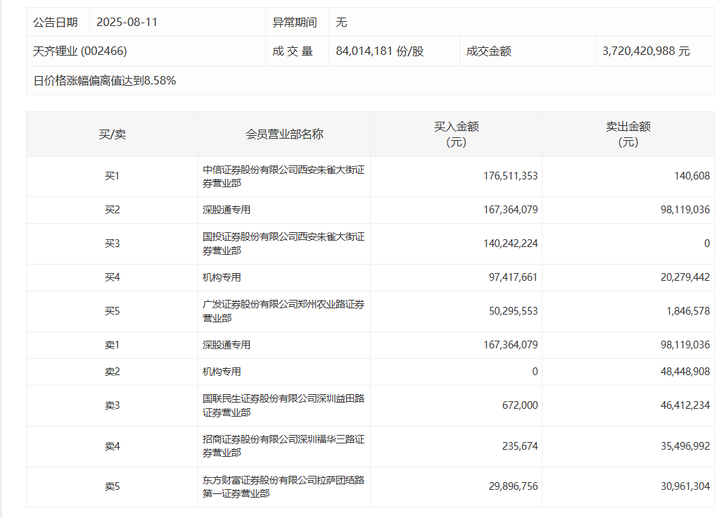
天齐锂业今日涨停 深股通净买入6924.50万元天齐锂业今日涨停 深股通净买入6924.50万元
0 08-11 17:13
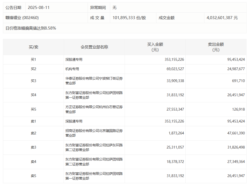
赣锋锂业今日涨停 深股通净买入2.58亿元仁信赣锋锂业今日涨停 深股通净买入2.58亿元
0 08-11 17:10 一财最热 点击关闭胜亿配资提示:文章来自网络,不代表本站观点。