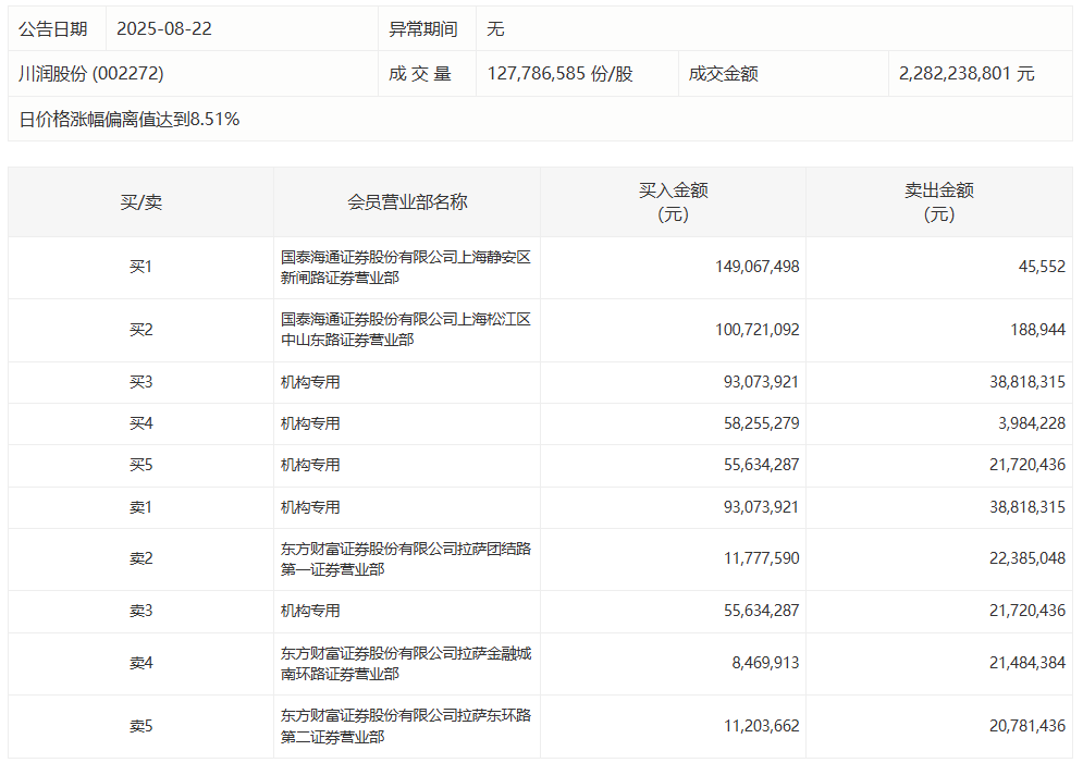
川润股份今日涨停,成交额22.82亿元东兴证券,换手率33.06%。盘后龙虎榜数据显示,3家机构专用席位净买入1.42亿元。

中电鑫龙今日跌停 三机构合计净买入1.09亿元东兴证券中电鑫龙今日跌停 三机构合计净买入1.09亿元
22 昨天 17:27
酒鬼酒今日涨10.00% 三机构净买入1.66亿元酒鬼酒今日涨10.00% 三机构净买入1.66亿元
0 08-20 16:30
本周最活跃个股名单出炉,105股换手率超100%本周最活跃个股名单出炉,105股换手率超100%
0 08-17 21:33
寒武纪今日涨停 涪陵广场路席位净买入10.86亿元寒武纪今日涨停 涪陵广场路席位净买入10.86亿元
0 08-12 17:29
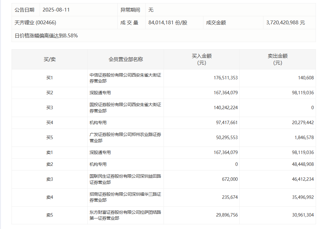
天齐锂业今日涨停 深股通净买入6924.50万元东兴证券天齐锂业今日涨停 深股通净买入6924.50万元
0 08-11 17:13 一财最热 点击关闭胜亿配资提示:文章来自网络,不代表本站观点。